武汉市民政局关于开展市级社会团体2025年度检查工作的通知
各全市性社会团体业务主管单位,各全市性社会团体:
根据国务院《社会团体登记管理条例(2016年修订)》规定,现就全市性社会团体2025年度检查工作有关事项通知如下:
一、年检对象
2025年12月31日前经市民政局核准登记的社会团体。
二、年检时间
全市性社会团体应于3月31日前通过湖北省政务服务网向业务主管单位报送上一年度工作报告等年检材料,经业务主管单位初审后,于5月31日前通过湖北省政务服务网报送登记管理机关,接受年度检查。无业务主管单位的社会团体于5月31日前直接通过湖北省政务服务网向登记管理机关报送年检材料,接受年度检查。逾期,年检系统关闭,不再受理年检。
三、年检内容
(一)遵守法律法规和有关政策情况;
(二)履行有关登记手续情况;
(三)党政领导干部在社会团体兼职情况;
(四)党组织建设及开展党的活动情况;
(五)依章程换届及开展活动情况;
(六)人员和机构变动情况;
(七)分支(代表)机构设立情况;
(八)财务管理情况;
(九)开展公益活动情况;
(十)开展节庆、展会、论坛、评比表彰、创建示范等情况;
(十一)接受监督情况;
(十二)其他需要说明情况。
四、年检工作流程
根据“一网通办”相关要求,全市性社会团体年检工作通过“湖北政务服务网”(http://zwfw.hubei.gov.cn/)办理。为方便社会团体网上办理年检,登记管理机关对年检系统进行了优化,并在“湖北政务服务网”首页的“特色服务”中设立“社会组织年度检查”入口。具体填报步骤见“年度检查填报指南”(详见附件)。
五、提交材料
参加年检的社会团体,网上审核通过后,应向登记管理机关提交下列材料:
(一)《年检报告书(2025年度)》;
(二)《社会团体法人登记证书(副本)》:
(三)《2025年度审计报告》原件。
六、年检结论
年检结论分为“合格”、“基本合格”、“不合格”。被确定为不合格的,要限期整改,并向登记管理机关报送整改报告。
为提高年度检查工作实效,登记管理机关将通过抽查审计等方式,按一定比例对全市性社会团体年度检查所涉事项进行抽查,结合审计结论和日常管理中发现问题的整改情况,综合研究确定年度检查结论。
七、相关要求
(一)各全市性社会团体要认真梳理一年来各方面的工作情况、参与乡村振兴等社会公益活动情况(作为等级评估、年检结论的重要依据),填写《年检报告书(2025年度)》,确保所提交材料信息真实、准确、完整,并按时报送年检相关材料。对虚假填报年度检查材料的,将依法依规予以处理。
(二)各全市性社会团体业务主管单位要及时通知所主管的社会团体参加年度检查,指导、督促其按规定要求和期限填报年检材料,对年检材料内容进行网上审查(业务主管单位网上登录入口:https://mzj.wuhan.gov.cn/bmfw/shzz/),并作出初审结论。
(三)各全市性社会团体逾期未参加年检的,将限期责令整改;连续两年以上未参加年检的或年检发现符合行政处罚条件的,将依法立案处罚。各全市性社会团体参加年检情况,将依法向社会公告。
行业性、商会社会团体年检咨询电话:027-85736235;
专业性、学术性、联合性社会团体年检咨询电话:027-87572127;
年检技术支持电话:027-50652848。
附件:年度检查填报指南
武汉市民政局
2026年1月21日
附件
年度检查填报指南
一、搜索进入
百度搜索“湖北政务服务网”,点击首页“特色服务”


二、选择登录
进入用户登录界面后,选择法人用户登录(账号为社会组织统一信用代码)。

若法人用户登录时提示“此账号不存在”,须先使用法定代表人的个人身份信息注册自然人用户,然后再使用社会组织登记信息(名称、统一社会信用代码等)和法定代表人身份信息(姓名、身份证号等)注册法人用户,注册成功后方可登录,若密码错误,请根据政务网提示进行找回密码操作。具体操作可详细观看“社会组织网上年检培训视频(http://mzt.hubei.gov.cn/ywzc/shzz/bszn/shtt/bgxz/202004/t20200423_2239884.shtml)。
三、填写报送
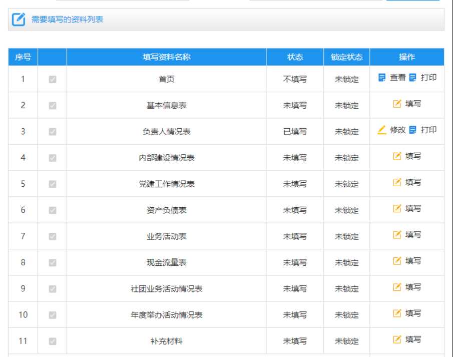
进入年检系统后,如实填报《年检报告书》,请确认每页的填写状态,除“不填写”的页面,其余页面状态为“已填写”,方能提交。
《年检报告书》经业务主管单位网上初审和登记管理机关网上审核通过后(无业务主管单位的市级社会团体,直接由登记管理机关网上审核),社会团体打印《年检报告书》(一份),加盖社会组织公章并签字后,连同登记证书(副本)、会计师事务所出具的本年度《财务审计报告》报送登记管理机关。

登记管理机关检查确认后,存档《年检报告书》、《财务审计报告》,并在登记证书(副本)上加盖年检结论章。
附件:
扫一扫在手机上查看当前页面



鄂公网安备 42010202000854号